prácticas dibujo técnico
viernes, 24 de mayo de 2019
pelotazo 2019
OPCIÓN A
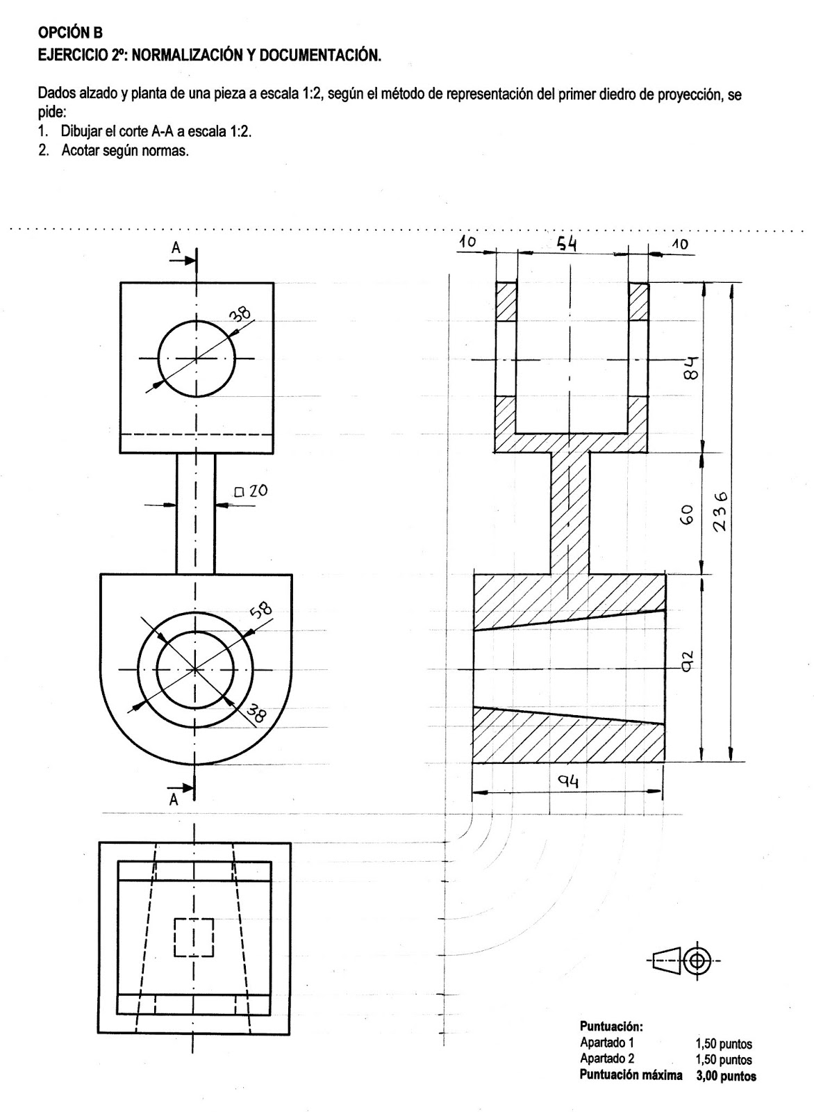
OPCIÓN B
miércoles, 15 de mayo de 2019
CONTROL 3.5 opción A (DT II)
CONTROL 3.4 opción B (DT II)
CONTROL 3.4 opción A (DT II)
martes, 14 de mayo de 2019
Contenidos de los exámenes Selectividad
domingo, 12 de mayo de 2019
CONTROL 3.3 (DTII)
CONTROL 3.2 (DTII)
CONTROL 3.1 (DTII)
Entradas más recientes
Entradas antiguas
Inicio
Suscribirse a:
Comentarios (Atom)
control 2.2
SUPERFICIES GEOMÉTRICAS
Un punto al desplazarse produce una línea (generatriz) que siguiendo un determinado sentido geométrico (directriz) genera una superficie....
Proyecciones diédricas del Prisma
El Prisma una superficie radiada, que esta limitada por polígonos (llamados bases) y caras laterales que son paralelogramos. El lado común a...
TEOREMA DE DANDELÍN
Según el Teorema de Dandelín: los focos de una curva cónica se encuentran en los puntos de tangencia del plano secante con dos esferas insc...